Quectel EC800E-CN
發布時間:2023-04-13 15:32:01
瀏覽次數:次
EC800E-CN 是移遠通信專為 M2M 和 IoT 領域而設計的 LTE Cat 1 無線通信模塊,支持最大下行速率 10 Mbps 和最大上行速率 5 Mbps,超小封裝,超高性價比。同時,EC800E-CN 在封裝上兼容 EC800M-CN、EC800N-CN 和EC800G-CN 模塊。
EC800E-CN 采用鐳雕工藝,鐳雕工藝具有外觀更好看、金屬質感強、散熱更好、信息不容易被抹除、更能適應自動化需求等優點。
EC800E-CN 內置豐富的網絡協議,集成多個工業標準接口,并支持多種驅動和軟件功能(如Windows 7*/ 8*/8.1*/ 10/11、Linux、Android等操作系統下的 USB 轉串口驅動),極大地拓展了其在 M2M 和 IoT 領域的應用范圍,如 POS 、OTT、CPE、數據卡、安防以及工業級 PDA 等。
主要優勢
超小尺寸,專為 M2M 和 IoT 應用設計,尤其是小尺寸
終端的需求
支持 DFOTA 遠程在線升級,降低后期運維成本
超高性價比
超低功耗

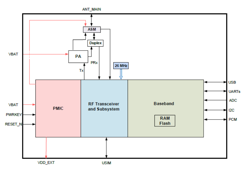
原理框圖 (EC800E-CN)

移遠全方位支持服務
上一篇:Quectel E600N-CN

